歡迎訪問北京中天恒遠環保設備有限公司官網!
咨詢熱線:010-8022-5898 手機:18610094262
-
垃圾滲濾液的組成及水質特點 2018-01-23 [技術新聞] 熱度:219

垃圾滲濾液是垃圾處理過程產生的二次污染物,我國滲濾液的典型污染物組成見表1,可以看出,我國垃圾滲濾液主要有以下幾個特征: 表1(垃圾滲濾液處理技術的發展與展望) 1)滲濾液成分復雜。滲濾液中含有低分子量的脂肪...
-
廢水生物處理新技術 2018-01-23 [技術新聞] 熱度:201

一、廢水生物處理新技術: 廢水生物處理是用生物學的方法處理廢水的總稱,是現代廢水處理應用中最廣泛的方法之一,主要借助微生物的分解作用把廢水中有機物轉化為簡單的無機物,使廢水得到凈化。按對氧氣需求情況,...
-
切削液廢水處理 2018-01-23 [技術新聞] 熱度:265

切削液按油品化學組成分為水溶性(水基)液和非水溶性(油基)液兩大類。 一、水基切削液的廢液處理 水基切削液的廢液處理可分為物理處理、化學處理、生物處理、燃燒處理四大類。 切削液廢水處理:1)物理處理:其目的是...
-
便于安裝的水處理設備 2018-01-23 [技術新聞] 熱度:244

本發明涉及一種便于安裝的水處理設備,包括進水機構、濾芯組件和出水機構,進水機構和出水機構通過濾芯組件連通;進水機構和出水機構均具有接頭組件,接頭組件包括轉接盤和轉接管,轉接管位于轉接盤內部,轉接管的中...
-
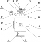
全程水處理設備 2018-01-23 [技術新聞] 熱度:199

本實用新型涉及一種全程水處理設備,它包括水處理罐體,所述的水處理罐體的下端設置有出水管道,所述的出水管道的下端設置有出水口,所述的水處理罐體上設置有水處理控制器,所述的水處理罐體的左端設置有水位標度尺...
-
第三方是的地方 2018-01-23 [技術新聞] 熱度:240

...
-
西藏昌都市卡若區昌都鎮水廠俄洛分廠取水泵站及輸水管網項目施工 2018-01-23 [技術新聞] 熱度:347

1. 招標條件 本招標項目昌都鎮水廠俄洛分廠取水泵站及輸水管網項目已由貢覺縣發改委以昌發改基建【2017】560號文批準建設,招標人為昌都市鑫盛水務投資有限公司,建設資金來自國家投資資金,項目出資比例為100% 。項...
-
污水處理的步驟 2018-01-23 [技術新聞] 熱度:317

污水處理一般來說包含以下三級處理:一級處理是它通過機械處理,如格柵、沉淀或氣浮,去除污水中所含的石塊、砂石和脂肪、油脂等。二級處理是生物處理,污水中的污染物在微生物的作用下被降解和轉化為污泥。三級處理...
-
生活污水處理工藝流程 2018-01-23 [技術新聞] 熱度:279

隨著人們生活水平的提高,生活污水排放越來越嚴重。在這樣的形式下,生活污水處理工藝也在不斷改進,下面我們來了解一下最新的生活廢水處理工藝流程。 1、曝氣生物濾池 生活污水處理工藝流程簡介:曝氣生物濾池,就...
-
高密度澄清池在鋼鐵污水處理廠應用 2018-01-23 [技術新聞] 熱度:253

需要咨詢購買水處理設備?免費為您提供產品報價和設計方案,咨詢電話: 010-8022-5898 摘要:沉淀池在經歷了平流沉淀池,斜板(管)沉淀池和加速澄清池(機械、水力)、脈沖澄清池之后,一種新型的澄清池稱做高密度澄清(D...
-
河南鄭州市教育局八中實踐基地污水處理系統配套房建設項目開標時 2018-01-23 [技術新聞] 熱度:162

招標編號:鄭財公開(2013DL)319號-改談判 致各投標人: 鄭州市教育局八中實踐基地污水處理系統配套房建設項目投標文件遞交截止時間和開標時間延遲至2013年9月18日15:00,投標保證金遞交截止時間相應延遲至投標文件遞...
-
宇星科技發展(深圳)有限公司(圖文) 2018-01-23 [技術新聞] 熱度:255

需要咨詢購買水處理設備?免費為您提供產品報價和設計方案,咨詢電話: 010-8022-5898 宇星科技發展(深圳)有限公司成立于2002年3月,注冊資本1.65億。公司是國家火炬計劃重點高新技術企業;是國家規劃布局內重點軟件企...
-
自來水廠生產廢水處理工藝流程的優化及運行控制要求(多圖) 2018-01-23 [技術新聞] 熱度:336

需要咨詢購買水處理設備?免費為您提供產品報價和設計方案,咨詢電話:010-8022-5898 摘要:本文對自來水廠生產廢水處理的工藝流程進行了優化,并對工藝的組成及其運行控制要求進行了較為詳細的分析。 關鍵詞:自來水...
-
李氏禾濕地系統如何凈化污染水體(多圖) 2018-01-23 [技術新聞] 熱度:177

需要咨詢購買水處理設備?免費為您提供產品報價和設計方案,咨詢電話:010-8022-5898 摘要:利用濕生鉻超富集植物李氏禾構建了三段式波形潛流式人工濕地,并以相同設計的無植物濕地系統作為對照,比較研究了李氏禾濕...
-
養殖廢水深度凈化技術(多圖) 2018-01-23 [技術新聞] 熱度:270

需要咨詢購買水處理設備?免費為您提供產品報價和設計方案,咨詢電話: 010-8022-5898 集約化的畜禽和水產養殖業中,養殖廢水的治理與排放已成為一項亟待解決的環境難題。凈化養殖廢水,降低廢水的排放對環境造成的壓力...
- 首頁
- 上一頁
- 33
- 34
- 35
- 36
- 37
- 38
- 39
- 40
- 41
- 42
- 43
- 下一頁
- 末頁
- 共 67頁1002條
服務地區:北京;天津;上海;重慶;河北;河南;云南;遼寧;黑龍江;湖南;安徽;山東;江蘇;浙江;江西;湖北;廣西;甘肅;山西;陜西;吉林;福建;貴州;廣東;青海;四川;寧夏;海南
服務地區:哈爾濱;長春;沈陽;南京;濟南;合肥;石家莊;鄭州;武漢;長沙;南昌;西安;太原;成都;西寧;?;廣州;貴陽;杭州;福州;臺北;蘭州;昆明;銀川;烏魯木齊;拉薩;南寧
補充分類:電廠;工業;游泳池;系統;工程;工程師;藥劑;過濾器;絮凝劑;公司;廠家;生產廠家;